bas escribió:`_´ escribió:Estoy impaciente por ver si para la próxima gen sacan una nueva Wii más potente y con soporte en HD, o si realmente se arriesgarán y sacaran una máquina potente que esté a la altura de las Ps4 y futura xbox.
Yo casi que plantearía la pregunta al revés, me cuestionaría si Sony y Microsoft seguirán dejándose tanta pasta en el diseño y fabricación de máquinas tan centradas en la fuerza bruta.
bueno la máquina de MS no es tan cerrada, se parece mucho a un PC, al igual que la Wii.
Yo no descarto que Sony saque una Ps4 a lo Wii.
Es decir, una Ps3 slim aumentada de potencia tal y como apuntan los últimos rumores.
"PlayStation 4 no supondrá un avance en hardware tan significativo como su predecesora. De hecho, no llegará a doblar la potencia de PS3 (supongo que con el objetivo de tener un coste de desarrollo más ajustado.
* Sony quiere posicionarse frente a la futura Xbox con un lanzamiento adelantado, para conseguir de este modo una posición dominante en el mercado. El año clave es 2011, aunque podría ser incluso antes…
* El procesador Cell de la actual PS3 se reutilizará en PS4, aunque con algunas mejoras.
* Se utilizará memoria GDDR3/DDR3 en lugar de la actual memoria

R, uno de los aspectos más criticados de la máquina actual."
Si finalmente se confirma esto, yo no lo veo del todo mal. Si la futura Ps4 al final resulta una Ps3 slim aumentada de potencia y con otro controlador pero a un precio no superior a los 300 euros puede resultarles la jugada bien al final. Al final Sony recuperará todo el dinero que ha invertido en la PS3.
Por otra parte, Microsoft no creo que haga lo mismo. Conociendoles, querrán sacar la consola más potente. Cogeran la mejor gráfica de ATI para Pc que haya por entonces y querran metersela o una incluso superior por entonces para que no se quede desfasada a los pocos años. Una xbox360 slim y aumentada de potencia con un mando a lo Wii... la verdad es que no lo veo... pero quien sabe... sinembargo una Ps3 slim aumentada de potencia pero sin doblar su potencia junto a un nuevo mando a lo Wii, en Sony... si lo veo.. no se por qué pero eso si lo veo factible...
quizás el nuevo mando de la PS4 sea algo así...








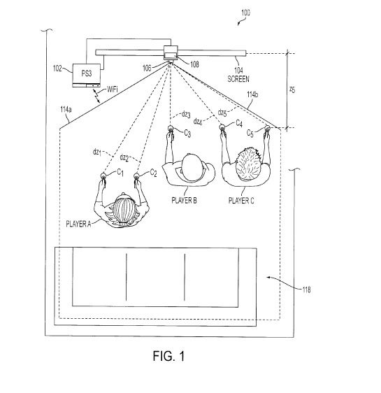
Sony patenta un nuevo mandoLa patente describe un controlador de mano de posición absoluta xyz y cuya rotación en el espacio también puede ser determinada.
El mecanismo de recopilación de la información enviada por el mando se basa en:
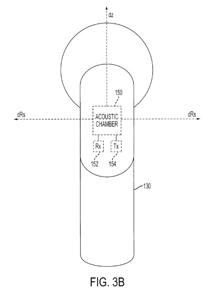
1) Ultrasonido para determinar la profundidad absoluta (a través del micrófono de la PSEye array), y para determinar la distancia entre los múltiples controles de un jugador.
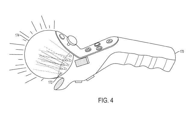
2) Un conjunto de LEDs recogidos por la cámara PSEye para determinar la posición X y la Y (con el apoyo del conjunto de micrófono y las señales de ultrasonido utilizando la triangulación), así como información acerca de la ubicación del controlador en relación con el jugador.
3) De acelerómetros en el controlador para determinar xyz y la inercia de rotación.
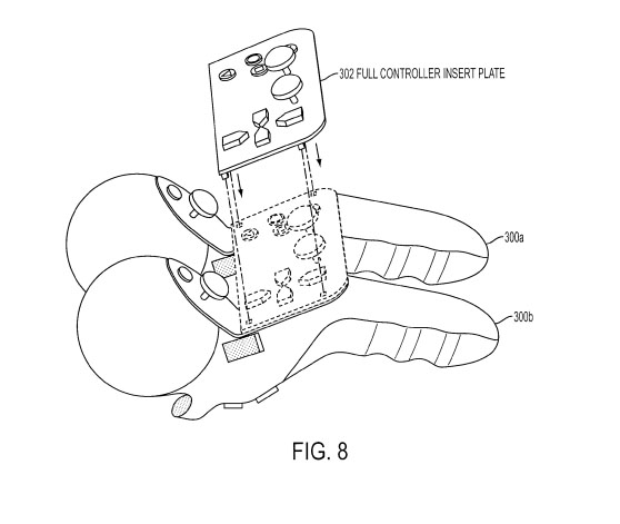
La patente describe placas de botones sustituibles en los controles, y una placa que agrupa dos controles (que da como resultado un mando más tradicional), así como también diversas configuraciones de ambos juntos dos juntos.