Leer esto la verdad esque gratifica pero al mismo tiempo desconozco todo el contenido que hay aqui reflejado. Por favor no quiero que piensen que afirmo la emulacion ni que sea posible, ya que la informacion que quiero compartir es solo eso... INFORMACIÓN
Emulador de PS2 en PS3 por software patentado por SonyLos primeros modelos de PlayStation3 que fueron llegando al mercado, eran retrocompatibles con los juegos desarrollados para PS2. Esta característica no duró demasiado tiempo en las consolas, y es que las primeras consolas en entrar a Europa, ya llegaron con la retrocompatibilidad limitada y algunos componentes internos cambiados.
En un principio la emulación era por hardware, pero el alto coste del chip que integraban estas consolas y que hacía posible el milagro, sumado a que las ventas por aquella época de Wii de Nintendo, una consola bastante más económica no dejaban de subir, hizo replantearse al gigante prescindir de este chip.
Sony comenzó a retirar los chips de sus PS3 progresivamente, aunque aún se podía jugar a los juegos de PS2 gracias a la emulación parcial por software, aunque finalmente el gigante decidió dejar a los usuarios sin la posibilidad de disfrutar de los juegos para PS2.
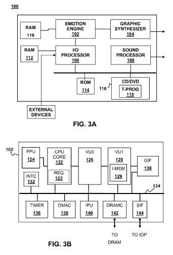
Siliconera descubrió en diciembre de 2008 una patente adquirida por Sony en la que se logra emular el Emotion Engine que es como se denomina el motor gráfico de PS2, con Cell el conocido y potente chip que integran las consolas PS3.
Pues bien aquel descubrimiento realizado por Siliconera ya es oficial, y ya han comenzado las primeras especulaciones que apuntan que esta podría ser una de las nuevas características que integrará la PS3 Slim o PSthree, permitiendo que se puedan ejecutar discos de juegos de la PS2 o ejecutar estos juegos desde el disco duro de la consola.
Que una compañía obtenga la patente de un producto, no significa necesariamente que este vaya a ser implementado o fabricado, aunque si ofrece cierta esperanza a aquellos usuarios de esta consola que añoran jugar a sus antiguos juegos de PS2 sin tener que desempolvar la vieja consola.
Pero ¿que sucederá si finalmente Sony decide implementar esta nueva funcionalidad a los nuevos modelos?, ¿podrán los usuarios actuales de PS3 optar a disfrutar de este emulador mediante algún tipo de actualización de software?.
Algo de lo que si se está seguro es de que si no se emula también el Graphics Synthesizer, de nada sirve la patente que tiene Sony, pues no se podría jugar a los juegos de PS2.


http://www.gigle.net/emulador-de-ps2-en-ps3-por-software-patentado-por-sony/